Haltech Controlling stock sequential twins with an E8
Originally Posted by eo2am
And I will take the same but hold the onions for being the test dummy and doing all the wiring.
I should have known better.
Originally Posted by slo
so how does it work and whats the transition like?
According to Claudio the transition is barely noticeable. Much better than factory.
The good part is that you have the option to adjust the settings that best suit your turbos/application.
Last edited by crispeed; Nov 9, 2006 at 12:26 PM.
Originally Posted by crispeed
Claudio
I want my double whopper and vanilla shake!
The way I see it you owe me that much for my entire two mins of confirming what you all knew allready.
I want my double whopper and vanilla shake!

The way I see it you owe me that much for my entire two mins of confirming what you all knew allready.

Anyway, there is some tuning, dialing in, needed, but you can actually feel it all working on there.
Andy, when you finish the boost controller connections test it out and give us the final tid bits! Im at the dallas airport right now on standby cause my flight got canceled, according to airline reps, "the equipment was bad"
that isnt very conforting. Anyway, on my way to Georgia right now so if anybody is in the area contact me if they need tuning.
Last edited by Claudio RX-7; Nov 9, 2006 at 01:26 PM.
so was the 10-9-10 achieved without a boost controller?
I'm just now planning a new setup, I bought a blown REW long-block that I plan to combine with a with an RE. I want to set it up using BNR hybrid twins. I'd like to make it work sequentially.
I'm not moving to florida as I had planned when I did an RE swap this summer, so I need to think about smog legality.
The end goal is a setup within 4 hours work of actual smog legality, and the appearance of quasi smog legality at all times.
I'm just now planning a new setup, I bought a blown REW long-block that I plan to combine with a with an RE. I want to set it up using BNR hybrid twins. I'd like to make it work sequentially.
I'm not moving to florida as I had planned when I did an RE swap this summer, so I need to think about smog legality.
The end goal is a setup within 4 hours work of actual smog legality, and the appearance of quasi smog legality at all times.
Originally Posted by slo
so was the 10-9-10 achieved without a boost controller?
I'm just now planning a new setup, I bought a blown REW long-block that I plan to combine with a with an RE. I want to set it up using BNR hybrid twins. I'd like to make it work sequentially.
I'm not moving to florida as I had planned when I did an RE swap this summer, so I need to think about smog legality.
The end goal is a setup within 4 hours work of actual smog legality, and the appearance of quasi smog legality at all times.
I'm just now planning a new setup, I bought a blown REW long-block that I plan to combine with a with an RE. I want to set it up using BNR hybrid twins. I'd like to make it work sequentially.
I'm not moving to florida as I had planned when I did an RE swap this summer, so I need to think about smog legality.
The end goal is a setup within 4 hours work of actual smog legality, and the appearance of quasi smog legality at all times.
. But im sure its totally possible.
I just want to make it look smog legal for the street.
I have to get the car refed as a street legal swap, and originaly I thought I would need to get it running on the oem ecu, at least for the inspectionb, but I talked to a smog ref who said they won't look that deep.
I have to get the car refed as a street legal swap, and originaly I thought I would need to get it running on the oem ecu, at least for the inspectionb, but I talked to a smog ref who said they won't look that deep.
this is a really good thread. This proves that you can run the stock twins sequential with nothing more than 2 rpm switches 2 dual pole relays 4 vaccum solenoids and a boost controller.
you could allmost certainly do it without any connection to the ecu using standalone rpm switches.
you could allmost certainly do it without any connection to the ecu using standalone rpm switches.
Originally Posted by slo
this is a really good thread. This proves that you can run the stock twins sequential with nothing more than 2 rpm switches 2 dual pole relays 4 vaccum solenoids and a boost controller.
you could allmost certainly do it without any connection to the ecu using standalone rpm switches.
you could allmost certainly do it without any connection to the ecu using standalone rpm switches.
Originally Posted by crispeed
Probably should have a sticky section for all this kind of stuff.
I have a quick question, how is the CRV getting controlled using claudio's method.
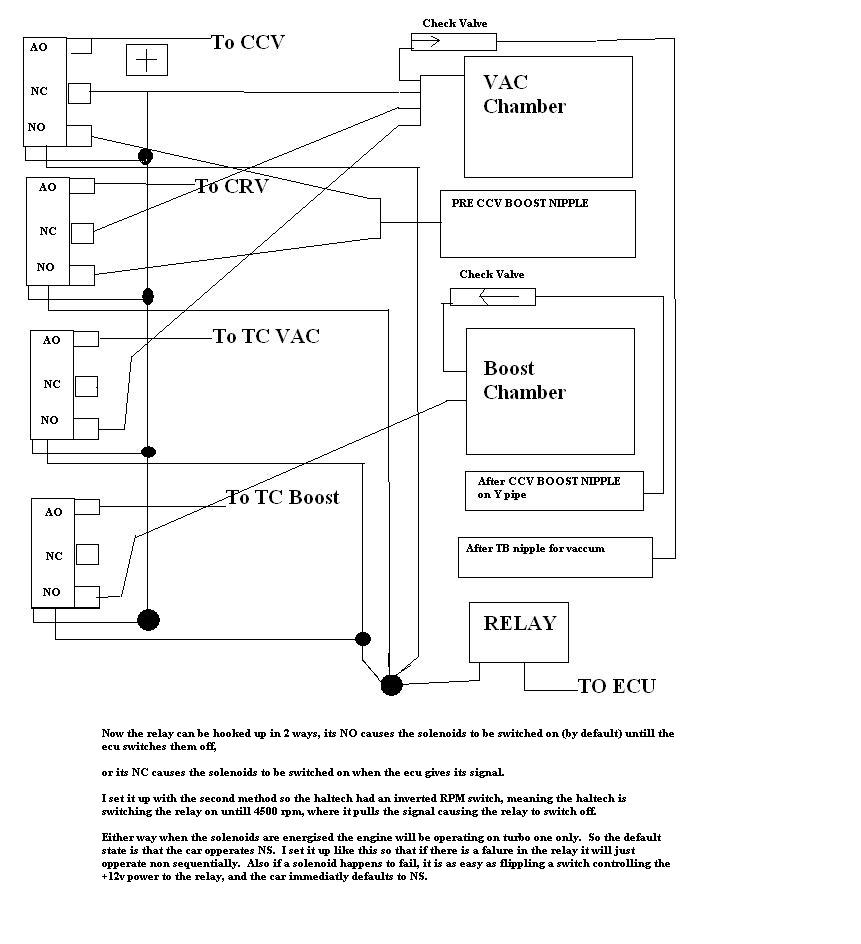
The simplified sequential diagram defanatly has one solenoid each for charge relief and charge controll.
How about the attached idea for running the twins
The simplified sequential diagram defanatly has one solenoid each for charge relief and charge controll.
How about the attached idea for running the twins
My personal opinion is to simplify things even further by removing the stock twins and just use single turbo, but im sure using the stock sequential setup would be appealing to some. With the E8 or E11v2 you have enough outputs to go along, but with the K or X they are limited.
So, please post the results you get from that.
So i take it you had the charge relief valve either blocked off or hooked up as a bov?
Well, you've obviously reversed things by giving the solenoids 12V, instead of common grounds like i had it and you're also using an extra output. Remember we used an E6K in my example, so outputs were limited, basically what we did was simplify things as much as possible. You could try your method and post the results. Its good to see more options.
My personal opinion is to simplify things even further by removing the stock twins and just use single turbo, but im sure using the stock sequential setup would be appealing to some. With the E8 or E11v2 you have enough outputs to go along, but with the K or X they are limited.
So, please post the results you get from that.
My personal opinion is to simplify things even further by removing the stock twins and just use single turbo, but im sure using the stock sequential setup would be appealing to some. With the E8 or E11v2 you have enough outputs to go along, but with the K or X they are limited.
So, please post the results you get from that.
Which one is the CRV? The way we had it setup was that the primary turbo is working all the time, and then when the secondary kicked in all trap doors opened at the same time, the way mazda does it is by spooling up the turbo first, then opening the butterflies to let the flow go through, we didnt do that.
The charge relief valve is the bypass valve looking piece that is just behind the charge control valve. It is supposed to let boost out as the second turbo spools up just before the second turbo comes online. It works just like a BOV or bypass valve mechaincly but is controlled by a solenoid to the vaccuum chamber.
What you say below makes sence.... I intend to do it more or less the way mazda did it by controlling the pre controll with a PWM providing a variable duty cycle the Pre controll acts as a wastgate below the point at which the second turbo comes online.
What you say below makes sence.... I intend to do it more or less the way mazda did it by controlling the pre controll with a PWM providing a variable duty cycle the Pre controll acts as a wastgate below the point at which the second turbo comes online.
Which one is the CRV? The way we had it setup was that the primary turbo is working all the time, and then when the secondary kicked in all trap doors opened at the same time, the way mazda does it is by spooling up the turbo first, then opening the butterflies to let the flow go through, we didnt do that.
quick question about your diagram, does the haltech not require a relay to control the single solenoid? its not too much voltage for the ecu to deal with directly?
you mean for the Turbo pre control, and the wastgate, thats actually 2 solenoids unless your using a standalone boost controller.
It has nothing to do with voltage its current draw.
No as long as they are a reasonable wattage, the haltech branded solenoids (identical to the mac valves solenoids that I used) are rated to consume 12.7watts at 12v that would work out to 1.058 amps, the PWM outs are rated at 1 amp max, this implies that they are not capable of powering the solenoids, however, haltech sells them for its own ecu's, and i'm not sure what the actual running voltage of 13 + would do to the amp draw (should lower it I think).
In any case, no relay is required as long as you aren't drawing more than about 1 amp from the PWM out (I think 1.05 amps is probably fine too and apparently so does haltech).
It has nothing to do with voltage its current draw.
No as long as they are a reasonable wattage, the haltech branded solenoids (identical to the mac valves solenoids that I used) are rated to consume 12.7watts at 12v that would work out to 1.058 amps, the PWM outs are rated at 1 amp max, this implies that they are not capable of powering the solenoids, however, haltech sells them for its own ecu's, and i'm not sure what the actual running voltage of 13 + would do to the amp draw (should lower it I think).
In any case, no relay is required as long as you aren't drawing more than about 1 amp from the PWM out (I think 1.05 amps is probably fine too and apparently so does haltech).
Last edited by slo; Apr 24, 2008 at 10:30 PM.
Well, as you can see in the diagram what we did was, ground the negative side of the solenoids, and use a couple of relays to power them, the way these work is by just opening or closing, so on/off deal, this took care of the "current draw" requirement and that way there's no worries there.
He's talking about the pre control, I since altered the original design so that all 4 turbo control channels are controlled of a single channel or a single solenoid (no half NO and half NC) its just a matter of changing how the hoses are hooked up.
Then there is one channel running off the wasgate map for the pre control and one channel running closed loop boost control
Then there is one channel running off the wasgate map for the pre control and one channel running closed loop boost control
Well, as you can see in the diagram what we did was, ground the negative side of the solenoids, and use a couple of relays to power them, the way these work is by just opening or closing, so on/off deal, this took care of the "current draw" requirement and that way there's no worries there.
He's talking about the pre control, I since altered the original design so that all 4 turbo control channels are controlled of a single channel or a single solenoid (no half NO and half NC) its just a matter of changing how the hoses are hooked up.
Then there is one channel running off the wasgate map for the pre control and one channel running closed loop boost control
Then there is one channel running off the wasgate map for the pre control and one channel running closed loop boost control
. -Heath
Yeah thats mine, I am not very good with making diagrams, it does reflect both vaccum lines and electrical connections.
All four solenoids are activated at the same time with a single relay (because 4 solenoids is too much for one PWM).
All four solenoids are activated at the same time with a single relay (because 4 solenoids is too much for one PWM).
Hi guys!
Very good info on this thread, therefore i have no shame to bring this back from death
I've currently bought an fd3s and i just love the seq twins. I have a haltech p2000+dashunit laying around which was planed for my fc3s 13B REW track carproject.
I'm now thinking about putting the p2000 into my fd3s. So i have some questions:
*I want to be able to switch back to the stock ecu for smog testing. Therefore I'm planning to use an banzai racing wiring harness extension, cut the stock-ecu connectors off and pin it for the haltech connectors. Will i get in any massive troubles doing this?
*I want to use the stock rats nest with all emisions equipped. I don't want to control the emission regarded solenoids with the p2000. is it possible to do this?
*Is your diagramm useable with the stock solenoids? Or are you running aftermarket solenoids with different vacuum routing?
thanks in advance
Patrick
Very good info on this thread, therefore i have no shame to bring this back from death

I've currently bought an fd3s and i just love the seq twins. I have a haltech p2000+dashunit laying around which was planed for my fc3s 13B REW track carproject.
I'm now thinking about putting the p2000 into my fd3s. So i have some questions:
*I want to be able to switch back to the stock ecu for smog testing. Therefore I'm planning to use an banzai racing wiring harness extension, cut the stock-ecu connectors off and pin it for the haltech connectors. Will i get in any massive troubles doing this?
*I want to use the stock rats nest with all emisions equipped. I don't want to control the emission regarded solenoids with the p2000. is it possible to do this?
*Is your diagramm useable with the stock solenoids? Or are you running aftermarket solenoids with different vacuum routing?
thanks in advance
Patrick


